
用途:
溶氣氣浮機主要用于固—液或液—液分離。通過溶氣和釋放系統在水中產生大量的微細氣泡,使其粘附于廢水中密度與水接近的固體或液體微粒上,造成整體密度小于水的狀態,并依靠浮力使其上升至水面,從而達到固—液或液—液分離的目的。在水處理領域氣浮機應用于以下方面:去除各種工業和市政污水中的固體懸浮物、油脂及各種膠狀物的設備。該設備廣泛應用于煉油、化工、釀造、植物油生產與精煉、屠宰、電鍍、印染等工業廢水和市政污水的處理。
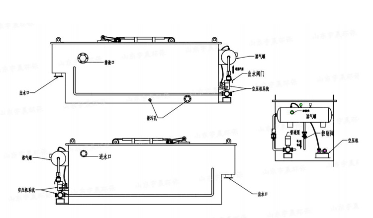
工作原理:
經加藥反應后的污水進入氣浮的混合區,與釋放后的溶氣水混合接觸,使絮凝體粘附在細微氣泡上,然后進入氣浮區。絮凝體在氣浮力的作用下浮向水面形成浮渣,下層的清水經集水器流至清水池后,一部分回流作溶氣使用,剩余清水通過溢流口流出。氣浮池水面上的浮渣積聚到一定厚度以后,由刮沫機刮入氣浮機污泥池后排出。


特點:
1、處理能力大、效率高、占地少。
2、工藝過程及設備構造簡單,便于使用、維護。
3、能消除污泥膨脹。
4、氣浮時向水中曝氣,對去除水中的表面活性劑及臭味有明顯的效果,同時由于曝氣增加了水中的溶解氧,為后續處理提供了有利條件。
5、對低溫、低濁、含藻類多的水源,采用氣浮法可取得較好的效果。












安裝、調試及注意事項:
(一)、安裝
1、設備安裝前,必須夯實地基。并用混凝土砂漿墊高 100-150mm。也可架空安裝,但基礎必須能承擔設備運行時的重量。
2、設備就位后需調整水平。
3、設備需設清洗用下水道,可挖明渠,也可直接采用管道接至調節池,以便沖洗氣浮池的水排出去。
4、污水入口與反應池之間的聯接管道,要求越短越好,以免絮凝體在管道中被破壞。
5、清水出口可接通下水道排放,如需進入下道處理工序,可直接與下道處理設備相接。
6、設備調試前,應做好以下準備工作:
1、要清洗水池內所有的贓物、雜物。
2、對水泵及空壓機等需要潤滑部位進行加油潤滑。
3、接通電源,啟動水泵,檢查轉向是否與箭頭所標方向一致。用手動控制啟動空壓機,檢查空壓機運轉是否正常,發現異常情況應及時查清原因。
4、按下刮沫機開關,使其向溶氣系統一端行走。運行到頭后在行程撞塊作用下,刮沫機反向行走,直到污泥槽,行程撞塊將刮板翻起,按下停止按鈕,停止刮沫。

(二)、試運行:
1、加水:使氣浮機水位達到距污泥池隔板上沿約 20-50mm,氣浮池水位的高低,可用集水器調節。
2、溶氣系統運行:關閉所有控制閥,將電器旋鈕開關旋至自動位置,啟動水泵,此時空壓機也進入自動工作狀態,然后順序打開舉清水泵進水閥、出水閥、控制閥,壓力表壓力逐漸上升,一般應達到 0.4-0.5MPa。此時打開溶氣罐出水控制閥門,使溶氣水通過釋放器,釋放至氣浮池內,氣 浮池內出現大量的微細氣泡,使清水變成乳白色,溶氣系統即為正常,溶氣壓力越高,釋放的溶氣水泡密度越高。溶氣系統的氣體由空壓機提供。由于溶氣水不斷將罐內空氣帶走,罐內空氣逐漸減少,水位上升。當水位上升到一定位置時,浮球液位計將控制空壓機工作,使罐內有足夠的空氣量。
3、氣浮運行:溶氣系統運行正常后,將加藥反應后的污水送至氣浮混合池。流量先小一些,正常后逐漸增至額定值。
4、溶氣水:溶氣水先用自來水作回流水,正常后,改用處理后的清水作回流水。如廢水中洗滌劑量大,泡沫多,影響氣浮效果,可一直用清水。
5、浮渣積聚到一定厚度后,啟動刮沫機。
6、設備停機時,應先關閉污水控制閥,再關閉污水泵,將沫刮凈,停刮沫機,然后打開清水閥,通入自來水運行 30 分鐘,關閉溶氣出水進水控制閥,之后停清水泵。
